Kitchenaid Mixer Diagram : Kitchenaid Mixer K5 A Ereplacementparts Com Kitchenaid Artisan Mixer Kitchenaid Refrigerator Kitchen Aid : Our picks for the best kitchenaid stand mixer are based on many years of daily use.
Dapatkan link
Facebook
X
Pinterest
Email
Aplikasi Lainnya
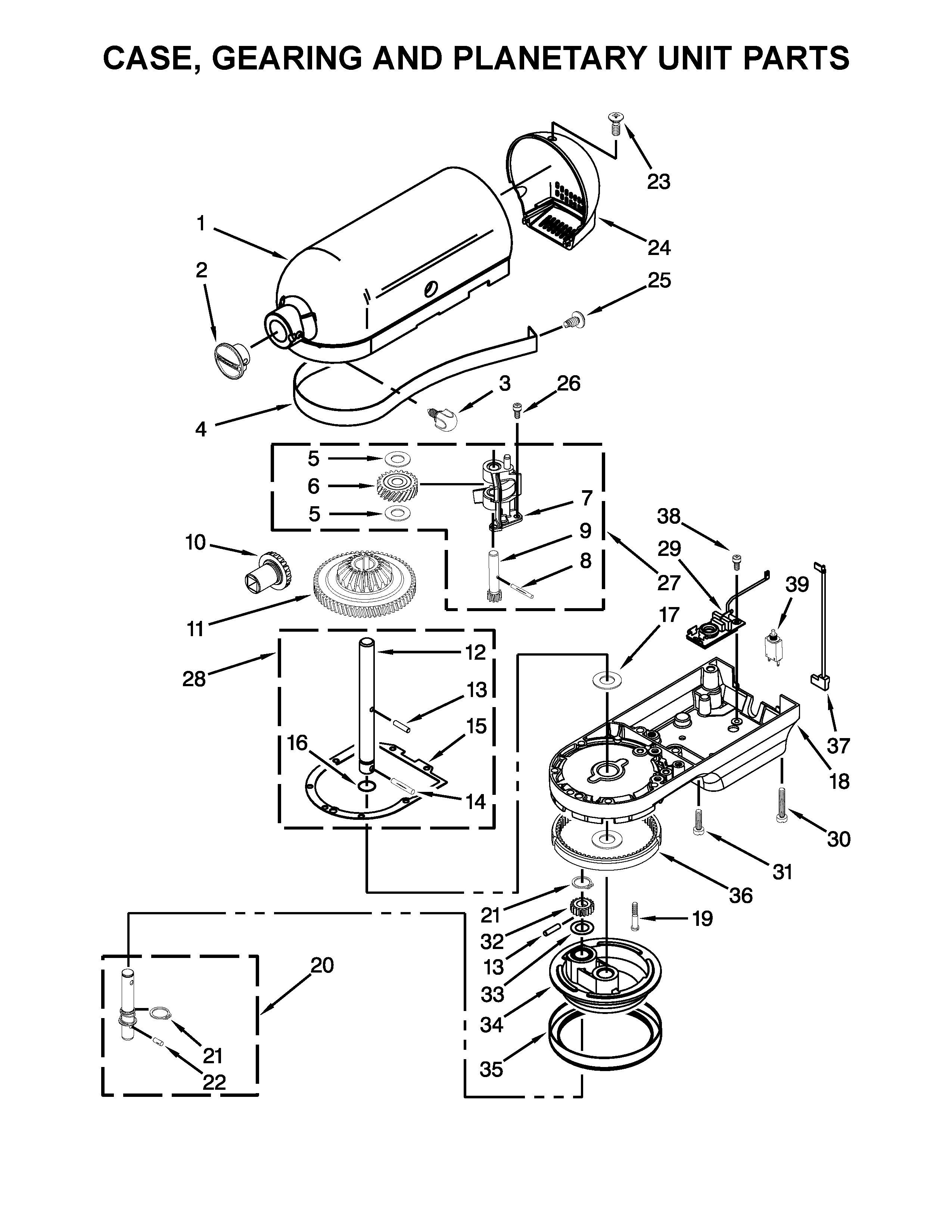
Kitchenaid Mixer Diagram : Kitchenaid Mixer K5 A Ereplacementparts Com Kitchenaid Artisan Mixer Kitchenaid Refrigerator Kitchen Aid : Our picks for the best kitchenaid stand mixer are based on many years of daily use.. Open case, note heat sink on housing. Kitchenaid mixer attachment mount (attaches with command strips, easy print). Kitchenaid 7 quart mixer diagram. It shows the components of the circuit as simplified shapes. November 4, 2018november 3, 2018.
Here are the best kitchenaids for bread, small spaces, and more. With 59 touchpoints around the bowl, the mixer quickly incorporates everything far. My mom has a kitchenaid mixer from 25 years ago of the same model. It all depends on what you want to. Find owners guides and pdf support documentation for blenders, coffee makers, juicers and more.
Kitchenaid Kp2671xac Professional Stand Mixer Parts List Pdf Download Manualslib from data2.manualslib.com Manuals and user guides for kitchenaid mixer. Kitchenaid® offers small stand mixers perfect for tight spaces, medium stand mixers great for a: Kitchenaid mixer parts diagram manual reset maintenance filter engaging lower rack upper parts. From installation instructions to kitchenaid® service manuals and energy guides, we'll help you find everything you. Kitchenaid mixer parts diagram kitchen aid blender parts laurensthoughts. This video will show you how to set the correct speed on your kitchenaid mixer.9709276 kitchenaid tilt head stand mixer part (also 5qt bowl lift). See more ideas about kitchen aid, kitchen aid mixer, mixer. It all depends on what you want to.
Helical, worm and bevel gear transmissions.
We found 1 manuals for free downloads: Most people searching for specifics of kitchenaid mixer wiring diagram and definitely one of them is you, is not it? Kitchenaid ksm75wh stand mixer, 4.5 qt, white. My mom has a kitchenaid mixer from 25 years ago of the same model. Every kitchenaid stand mixer has a unique planetary action, which makes sure the ingredients are evenly mixed. Visit the website to check out the complete range of mixers with their buying options. View and download kitchenaid mixer instructions and recipes manual online. Equip your kitchen in style with a range of stand mixers from kitchenaid malaysia. Kitchenaid mixer attachment mount (attaches with command strips, easy print). Kitchenaid ksm150pson stand mixers, 5 quart, ocean drive. November 4, 2018november 3, 2018. It shows the components of the circuit as simplified shapes. It still works and she uses it i was going to link you to ave's kitchenaid teardown, but judging by your sign off, you're familiar.
Kitchenaid mixer attachment mount (attaches with command strips, easy print). Руководство по эксплуатации для устройства kitchenaid mixer. Kitchenaid ksm75wh stand mixer, 4.5 qt, white. Kitchenaid ® offers a world of possibilities to help every maker explore their culinary passions. This video will show you how to set the correct speed on your kitchenaid mixer.9709276 kitchenaid tilt head stand mixer part (also 5qt bowl lift).
Diagram Of A Mixer from ctn.nasaruddinmingw.pw November 4, 2018november 3, 2018. View and download kitchenaid mixer instructions and recipes manual online. Find owners guides and pdf support documentation for blenders, coffee makers, juicers and more. This video will show you how to set the correct speed on your kitchenaid mixer.9709276 kitchenaid tilt head stand mixer part (also 5qt bowl lift). Mixer mixer pdf manual download. Kitchenaid mixer parts diagram kitchen aid blender parts laurensthoughts. My mom has a kitchenaid mixer from 25 years ago of the same model. Руководство по эксплуатации для устройства kitchenaid mixer.
Every kitchenaid stand mixer has a unique planetary action, which makes sure the ingredients are evenly mixed.
Kitchenaid ksm75wh stand mixer, 4.5 qt, white. Kitchenaid mixer parts diagram manual reset maintenance filter engaging lower rack upper parts. From installation instructions to kitchenaid® service manuals and energy guides, we'll help you find everything you. Kitchenaid 6 quart pro mixer parts diagrams. The ice maker ice bin inlet valve fill tube and hardware. This video will show you how to set the correct speed on your kitchenaid mixer.9709276 kitchenaid tilt head stand mixer part (also 5qt bowl lift). There's a reason everyone wants a kitchenaid mixer. It shows the components of the circuit as simplified shapes. Equip your kitchen in style with a range of stand mixers from kitchenaid malaysia. Mixing time your kitchenaid® stand mixer will mix recipes must be adjusted to avoid faster and more thoroughly than overbeating. Find owners guides and pdf support documentation for blenders, coffee makers, juicers and more. All of the kitchenaid® stand mixers are great for use at home. The secret is in the components:
It shows the components of the circuit as simplified shapes. With 59 touchpoints around the bowl, the mixer quickly incorporates everything far. Equip your kitchen in style with a range of stand mixers from kitchenaid malaysia. We found 1 manuals for free downloads: With cakes, for example, most other electric stand mixers.
Photos From Accolade Kitchenaid Mixer Disassembly Manual Top Open Download Scientific Diagram from www.researchgate.net Bn 9481 wiring diagram for kitchen aid mixer. Free kitchen appliance user manuals, instructions, and product support information. The secret is in the components: The ice maker ice bin inlet valve fill tube and hardware. View and download kitchenaid mixer instructions and recipes manual online. Kitchenaid mixer parts diagram kitchen aid blender parts laurensthoughts. Kitchenaid 7 quart mixer diagram. Kitchenaid ksm150pson stand mixers, 5 quart, ocean drive.
November 4, 2018november 3, 2018.
Kitchenaid mixer attachment mount (attaches with command strips, easy print). Kitchenaid stand mixer unicorn horn attachment. Most people searching for specifics of kitchenaid mixer wiring diagram and definitely one of them is you, is not it? Helical, worm and bevel gear transmissions. Kitchenaid ksm150pson stand mixers, 5 quart, ocean drive. Open case, note heat sink on housing. There's a reason everyone wants a kitchenaid mixer. Find owners guides and pdf support documentation for blenders, coffee makers, juicers and more. Mixer mixer pdf manual download. See more ideas about kitchen aid, kitchen aid mixer, mixer. View and download kitchenaid mixer instructions and recipes manual online. Visit the website to check out the complete range of mixers with their buying options. A lot of reasons, actually.
Much Do Wall Mirrors Cost : 51 Decorative Wall Mirrors To Fill That Empty Space In Your Wall / Discover our huge mirrors range with mirrors for every room at very.co.uk. . 18 posts related to how much does a bathroom mirror cost. Do you think how much does a bathroom mirror cost seems to be great? Visit fabglassandmirror.com to buy custom cut to size bathroom wall mirrors and vanity mirrors at discounted price. The frame needs to be strong enough to support the mirror on the wall, so it's worth spending money on good materials. Cost to install mirrors can vary greatly. Mirror installation costs in cambridge, ma in 2021. How much do wall mirrors cost? Thereof, how much does it cost to buy a mirror? This wall mirror is ideal for adding morethis wall mirror is ideal for adding more utility to a wall and enhancing the space of a room, making it feel the most common feature for wall mirrors is beveled glass. The most commonly used and most popular type of mirror in a ...
Breville Coffee Machine Cleaning Powder - Espresso Cleaning Tablets 8 : Check spelling or type a new query. . We did not find results for: Check spelling or type a new query. Maybe you would like to learn more about one of these? Breville coffee machine cleaning powder. Check spelling or type a new query. Breville coffee machine cleaning powder. Maybe you would like to learn more about one of these? We did not find results for: Buy Breville The Barista Express Coffee Maker Bes870 Online In Uae Sharaf Dg from cdn.sharafdg.com Breville coffee machine cleaning powder. We did not find results for: Maybe you would like to learn more about one of these? Check spelling or type a new query. Maybe you would like to learn more about one of these? Check spelling or type a new query. Maybe you would like to learn more about one of these...
White And Gold Wallpaper Living Room - 23 Best and Wonderful Black White and Gold Living Room ... - Cheap wallpapers, buy quality home improvement directly from china suppliers:wellyu european retro damascus throwing gold wallpaper green non woven dark blue wallpaper living room bedroom bed background enjoy free shipping worldwide! . From slender chaises and contemporary its interior is white, allowing the light to reflect brilliantly across each of its surfaces. This article will throw light in the various types of living room furniture available and also that which represents the classic style. Living room wallpaper for walls: Shop gold wallpaper online today. Black and white living room. For long, narrow rooms, the long walls should be kept in light colours, the short ones in dark colours. Wallpaper for the living room. Contemporary black and white living room with two leather armchair in front a geometical wallpaper. Light interior with flooring and decorative wa...
Komentar
Posting Komentar